FK IT
Hot Melt Coating Heads
Flexible I compact I precise
PRECISE COATING, FLEXIBLE APPLICATION, AND COST-EFFECTIVE

The coating heads of the FK IT series are de signed for intermittent and continuous coating with precise adhesive cut-off at high production speeds and fast switching times. Thermoplas tic adhesives in the low- to medium-viscosity range are processed. The coating heads of the FK IT series are mainly used in processes of the graphics and converting industry, as well as in other areas
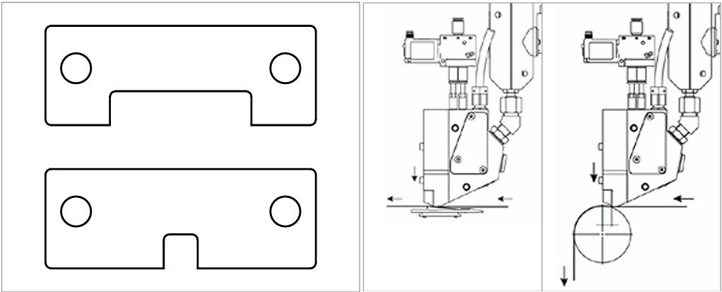
EdgePro یک هد پوشش برای چسباندن لبه قطعات کار است و عمدتاً در صنعت چوب استفاده میشود. چسبهای حرارتی EVA و پلی اولفین و همچنین چسبهای حرارتی PUR برای چسباندن مقاوم در برابر حرارت و ضد آب میتوانند با آن پردازش شوند.

